Montageständer
-
- Zubehör
- insanerider
-
-
-
#2 Da sollten doch diese einfachen und preiswerten Ständer von z.B. Rothewald langen, oder?
Gibt es ja gerade iM Sonderangebot bei Tante Louise

-
-
#3 Die Sixdays hat eine Rundrohrschwinge. Die Auflagewinkel der "handelsüblichen" Ständer sind einfach zu kurz. Absturz vorprogrammiert! Ich habe die Auflagewinkel mit angeschweissten Flacheisen um einige Zentimeter verbreitert und mit einer Gummiauflage versehen, um Lackbeschädigungen zu vermeiden.
Gruss Wolli
-
-
-
#5 Moin,
lass es sein. Der Rothewold universal taugt nicht für die Rundschwinge. Wie schon geschrieben ist die Auflage zu schmal.
Hab das Ding wg der Räder gekauft damit ich das Teil in der Garage hin und her schieben kann.bin wieder auf meinen Alten gewechselt hier sind die Aufnahmen doppelt so breit wie bei dem Universal
Gruß Carsten
-
#6 Moin Carsten,
ich gebe dir Recht, ohne da was zu ändern ist dieses Universalding bei Rundschwingen suboptimal.
Wenn du aber eine Rohrschelle (oder wie ich ein T-Klammer aus dem Stallbau) an einen solchen Vierkant schweißen kannst,
dann hast du eine einfache und sehr billige Lösung, diese Adapter selber zu bauen, das ist ja keine Hürde. Da kannst du dann die Breite optimal auch auf schmälere Schwingen oder Rundschwingen einstellen.
-
-
#7 Moin eetarga,
könntest Du bitte ein Detailfoto Deiner Verbesserung hier einstellen? Ich habe mir nach Beratung und Inaugenscheinnahme des Mopeds das o.g. Universalteil von Rothewold gekauft. Ich könnte mir dann hoffentlich etwas ähnliche konstruieren, leider kann ich nicht schweißen.
Danke und HG Dirk
-
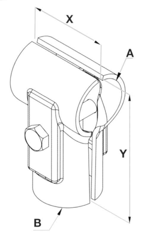
#8 Ganz einfach!
Die Schwinge hat ein Maß von 45mm Profilhöhe.
Nun besorgst du dir eine geteilte T-Schelle in 2" beim Maß A
Maß B kannst du ja irgendwie wählen, so das du das an dem Rothewold Teil befestigen kannst, schrauben, schweißen, egal - Hauptsache fest.
Hier noch der Link zu einem möglichen Verkäufer https://www.siepmann.net/Produ…rbedarf/Rohrschellen.html
oder frag deinen Landmaschinenhändler nach einem Stallbauer für Kuhställe.
-
-
Hey,
dir scheint die Diskussion zu gefallen, aber du bist nicht angemeldet.
Wenn du ein Konto eröffnest merken wir uns deinen Lesefortschritt und bringen dich dorthin zurück. Zudem können wir dich per E-Mail über neue Beiträge informieren. Dadurch verpasst du nichts mehr.
Jetzt anmelden!